LEMON Manuals: Even more car manuals for everyone
Home >> Acura >> 2007 >> RL >> Repair and Diagnosis (Single Page) >> Transmission >> Automatic Trans >> Automatic Transmission >> System Description >> Electronic Control System >> Lock-up Control

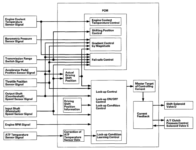
Lock-up Control

Shift solenoid valve D controls the hydraulic pressure to switch the lock-up shift valve and lock-up ON and OFF. When the PCM turns shift solenoid valve D and A/T clutch pressure control solenoid valve C ON, and lock-up starts. A/T clutch pressure control solenoid valve C regulates and applies hydraulic pressure to the lock-up control valve to control the amount of the lock-up.

The lock-up mechanism operates in 2nd, 3rd, 4th, and 5th gears in D, and in 2nd and 3rd gears in D3.

Fig 1: Lock-Up Control Diagram
G05495408Courtesy of AMERICAN HONDA MOTOR CO., INC.