LEMON Manuals: Even more car manuals for everyone
Home >> Acura >> 2007 >> RL >> Repair and Diagnosis (Single Page) >> Electrical >> Body Electrical >> Fuse/Relay Boxes >> Connector to Fuse/Relay Box Index >> Driver's Under-dash Fuse/Relay Box

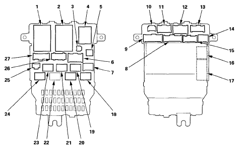
Driver's Under-dash Fuse/Relay Box

DRIVER'S UNDER-DASH FUSE/RELAY BOX REFERENCE

Socket Ref Terminal Connects to
A 6 6
Accessory power socket relay 19 4  
A/F sensor relay 20 4  
B 12 6 Engine compartment wire harness (see ENGINE COMPARTMENT WIRE HARNESS (LEFT BRANCH) )
C 11 12 Engine compartment wire harness (see ENGINE COMPARTMENT WIRE HARNESS (LEFT BRANCH) )
D 13 17 Engine compartment wire harness (see ENGINE COMPARTMENT WIRE HARNESS (LEFT BRANCH) )
E 8 16 Left side wire harness (see LEFT SIDE WIRE HARNESS (FRONT BRANCH) )
F 9 14 Left side wire harness (see LEFT SIDE WIRE HARNESS (FRONT BRANCH) )
G 14 6 Left side wire harness (see LEFT SIDE WIRE HARNESS (FRONT BRANCH) )
H 15 14 Left side wire harness (see LEFT SIDE WIRE HARNESS (FRONT BRANCH) )
Ignition coil relay 23 4  
J 27 21 Left side wire harness (see LEFT SIDE WIRE HARNESS (FRONT BRANCH) )
K 26 12 Driver's door subharness (see DRIVER'S DOOR SUBHARNESS )
M 25 3 MICU service check connector
N 2 45 Dashboard wire harness A
P (MICU) 17 30 Dashboard wire harness A
PGM-FI main relay 1 (Fl MAIN) 21 4  
PGM-FI main relay 2 (FUEL PUMP) 24 4  
  22   Not used
Q (MICU) 16 14 Left side wire harness (see LEFT SIDE WIRE HARNESS (FRONT BRANCH) )
R (MES connector) 3 2 Dashboard wire harness A
S 5 2 Dashboard wire harness A
Starter cut relay 2 18 4  
T 7 6 Dashboard wire harness A
Turn signal/hazard relay 4 6  
W 10 5 Left side wire harness (see LEFT SIDE WIRE HARNESS (FRONT BRANCH) )
X 1 39 Dashboard wire harness A
Fig 1: Identifying Driver's Under-Dash Fuse/Relay Box Terminals
G05496760Courtesy of AMERICAN HONDA MOTOR CO., INC.