LEMON Manuals: Even more car manuals for everyone
Home >> Acura >> 2007 >> RL >> Repair and Diagnosis (Single Page) >> Accessories & Equipment >> Infotainment >> Navigation System >> System Description >> Navigation Function >> Function Diagram

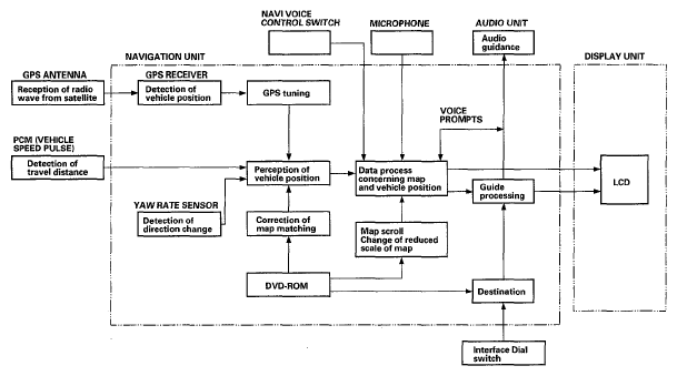
Function Diagram

Fig 1: Navigation System - Function Diagram
G05497567Courtesy of AMERICAN HONDA MOTOR CO., INC.