LEMON Manuals: Even more car manuals for everyone
Home >> Acura >> 2007 >> MDX >> Repair and Diagnosis >> Body & Frame >> Seats >> Driver Position Memory System (DPMS) >> Driving Position Memory Switch Test/Replacement

Driving Position Memory Switch Test/Replacement

  1. Remove the driver's door panel (see FRONT DOOR PANEL REMOVAL/INSTALLATION ).
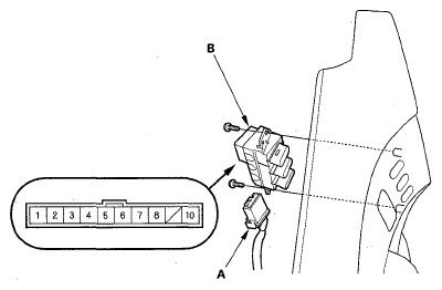
  2. Disconnect the 10P connector (A) from the driving position memory switch (B).
    Fig 1: Identifying 10P Connector And Driving Position Memory Switch
    G05488322Courtesy of AMERICAN HONDA MOTOR CO., INC.
  3. Remove the two screws, then remove the switch from the door panel.
  4. Check for continuity between the terminals in each switch position according to the table.
    Fig 2: Checking For Continuity Between Terminals In Each Switch Position
    G05488323Courtesy of AMERICAN HONDA MOTOR CO., INC.
  5. If the continuity is not as specified, replace the switch.