LEMON Manuals: Even more car manuals for everyone
Home >> Acura >> 2004 >> MDX Base >> Repair and Diagnosis >> Engine Performance >> System >> PGM-FI System >> Knock Sensor Replacement

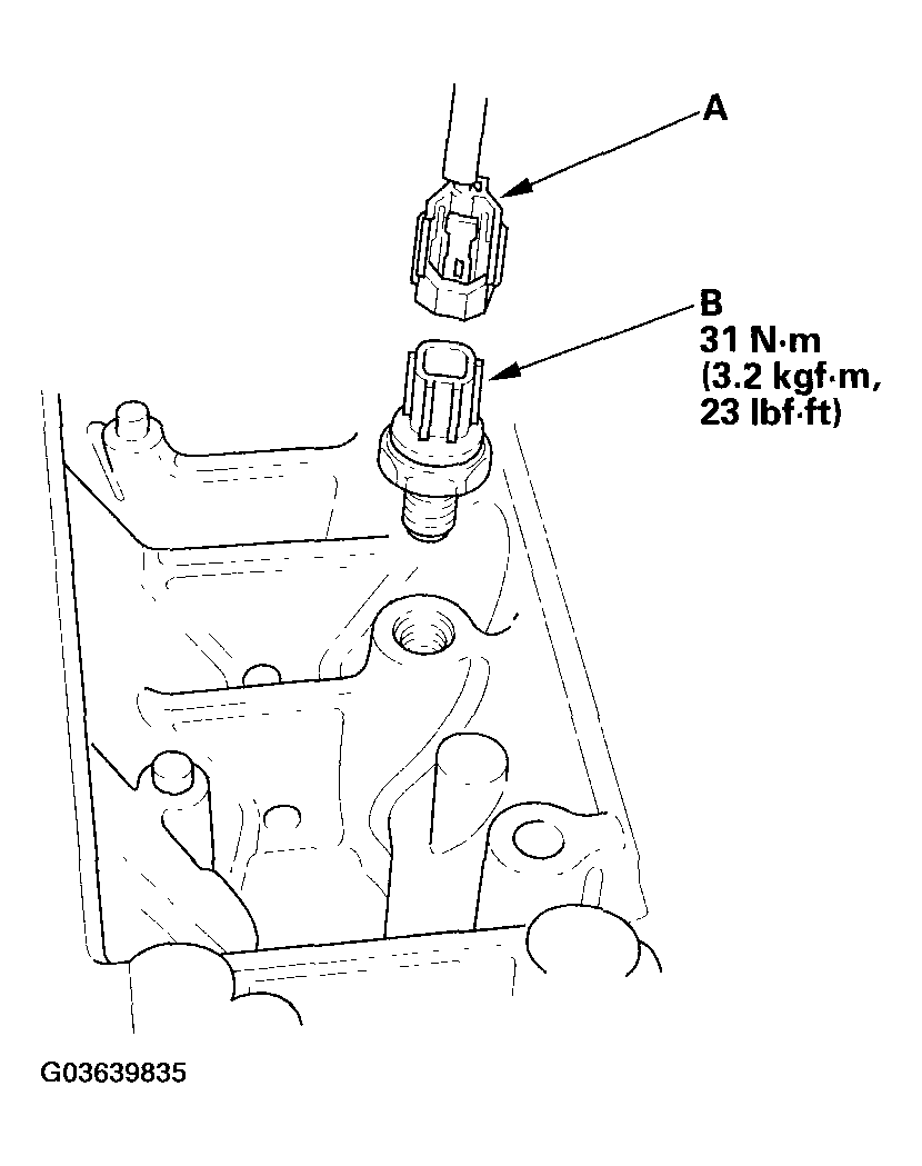
Knock Sensor Replacement

  1. Remove the intake manifold (see REMOVAL ).
  2. Remove the injector rails and the base.
  3. Disconnect the knock sensor 1P connector (A), then remove the knock sensor (B).
    Fig 1: Disconnecting Knock Sensor 1P Connector
    G03639835Courtesy of AMERICAN HONDA MOTOR CO., INC.
  4. Install the sensor in the reverse order of removal.