LEMON Manuals: Even more car manuals for everyone
Home >> Acura >> 2003 >> 3.2CL Base >> Repair and Diagnosis >> Engine Performance >> System >> Engine Controls - Basic Diagnostic Procedures >> Ignition Checks >> Ignition Coil Relay Circuit Test (MDX)

Ignition Coil Relay Circuit Test (MDX)

NOTE: Check No. 46 (15-amp) fuse in the under-hood fuse/relay box and No. 8 (15-amp) fuse in the under-hood subfuse box. Replace if necessary and follow procedure below.
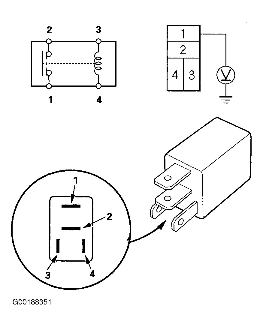
  1. Remove ignition coil relay from relay block. Connect a fused jumper wire to relay terminal No. 3 and battery voltage. Connect a ground wire to relay terminal No. 4 and negative battery terminal. See Fig 1 . There should be continuity between relay terminals No.s 1 and 2. Disconnect ignition coil relay from battery power and ground connections. There should be no continuity between relay terminals No. 1 and 2. If either test has results other than as specified, replace relay. Go to next step.
  2. With relay disconnected, measure voltage between ground and relay connector terminal No. 1. If there is battery voltage, go to next step. If there is no voltage, repair open in circuit between relay connector terminal No. 1 and No. 8 fuse in under-hood subfuse box.
  3. With relay disconnected, measure voltage between ground and relay connector terminal No. 4. If there is battery voltage, go to next step. If there is no voltage, repair open in circuit between relay connector terminal No. 4 and No. 46 fuse in under-hood fuse/relay box.
  4. Disconnect ignition coil 3-pin connectors. Check continuity between ignition coil power relay connector terminal No. 2 and each coils connector terminal No. 3. If there is continuity, go to next step. If there is no continuity, repair open circuit between ignition coil power relay connector terminal No. 2 and suspect coil(s) connector terminal No. 3.
  5. Check continuity between ground and ignition coil power relay terminal No. 3. If there is continuity, repair short to ground between relay connector terminal No. 3 and PCM. If there is no continuity, repair an open in circuit between relay connector terminal No. 3 and PCM.
Fig 1: Identifying Ignition Coil Power Relay Connector & Terminals (MDX)
G00188351Courtesy of AMERICAN HONDA MOTOR CO., INC.