LEMON Manuals: Even more car manuals for everyone
Home >> Acura >> 2003 >> 3.2CL Base >> Repair and Diagnosis (Single Page) >> Brakes >> Traction Control >> Anti-Lock/Traction Control >> Description & Operation >> Abs Control Unit >> Main Control

Main Control

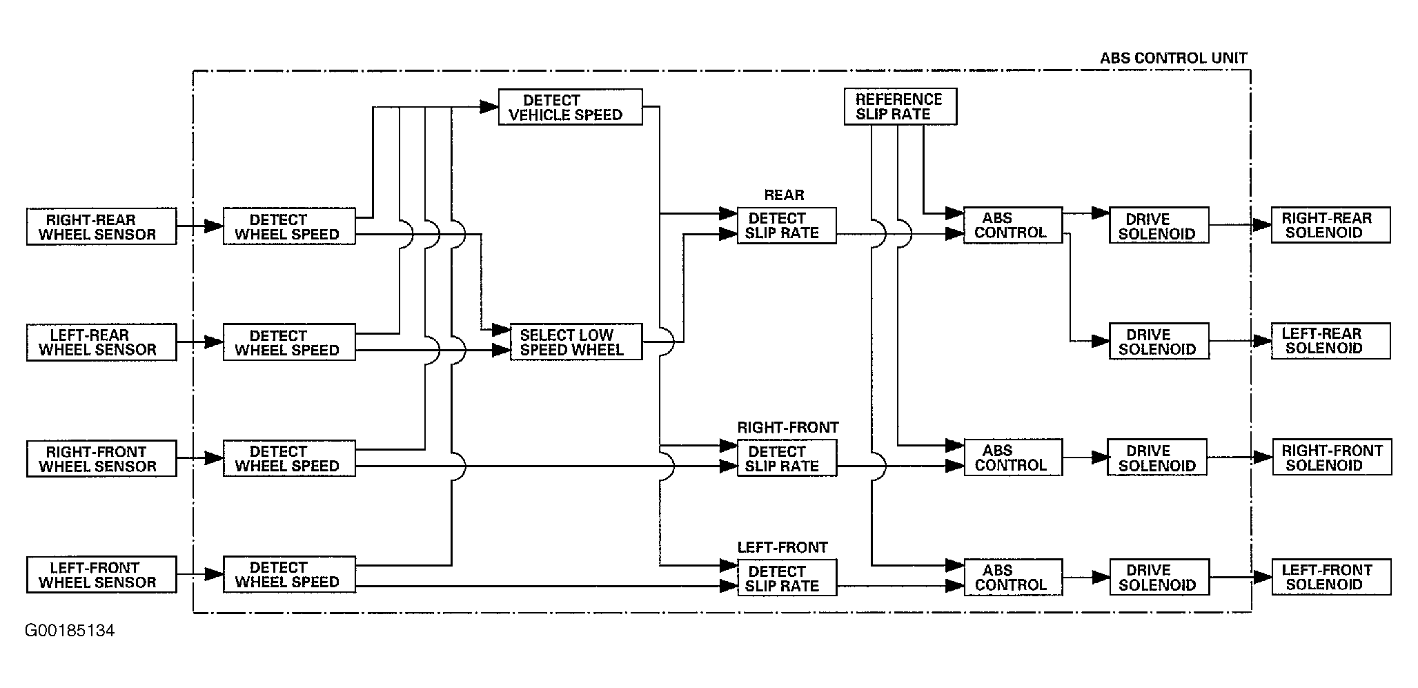
The ABS control unit detects the wheel speed based on the wheel speed sensor signal it received, then it calculates the vehicle speed based on the detected wheel speed. The control unit detects the vehicle deceleration based on the rate of deceleration. The control unit calculates the slip rate of each wheel and transmits the control signal to the modulator unit solenoid valve when the slip rate is high. The pressure reduction control has three modes: pressure intensifying, pressure retaining, and pressure reducing. See Fig 1 . The ABS/TCS control unit controls the TCS based on signal inputs from the throttle position sensor, engine speed sensor, shift position sensor, and the wheel sensors. In addition, the ABS/TCS control unit sends an engine retard request signal to the PCM if necessary. The ABS/TCS control unit uses the modulator unit to control the TCS. See Fig 2 .

Fig 1: Identifying ABS Control Unit Circuit Path
G00185134Courtesy of AMERICAN HONDA MOTOR CO., INC.
Fig 2: Identifying TCS Control Unit Circuit Path
G00183436Courtesy of AMERICAN HONDA MOTOR CO., INC.