LEMON Manuals: Even more car manuals for everyone
Home >> Acura >> 2002 >> MDX Base, BGHA >> Repair and Diagnosis >> Accessories & Equipment >> Memory Modules >> Driver's Position Memory Systems >> Component Tests >> Power Mirror Switch

Power Mirror Switch

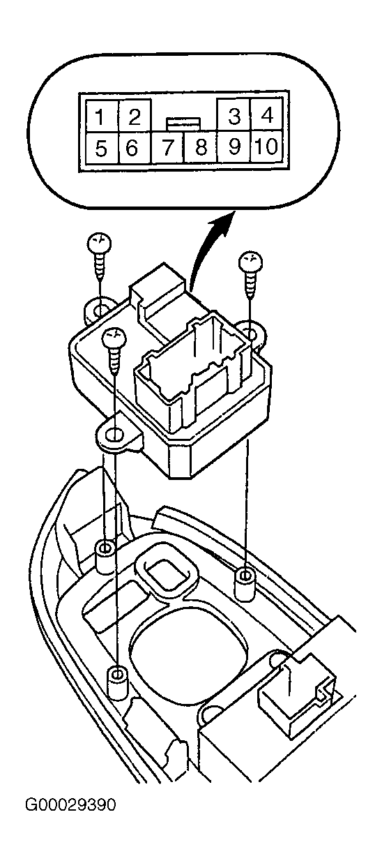
Remove driver's door panel. See DOOR PANEL  under REMOVAL & INSTALLATION. Disconnect power mirror switch connector. Using an ohmmeter, verify continuity between switch terminals is as specified. See Fig 1 . See POWER MIRROR SWITCH CONTINUITY  table. If mirror switch fails any test, replace faulty mirror switch.

POWER MIRROR SWITCH CONTINUITY

Switch Position Continuity Between Terminals No.
Left Mirror
Up 1 & 4; 2 & 7
Down 1 & 7; 2 & 4
Left 1 & 7; 2 & 9
Right 1 & 9; 2 & 7
Right Mirror
Up 1 & 4; 2 & 8
Down 1 & 8; 2 & 4
Left 1 & 8; 2 & 10
Right 1 & 10; 2 & 8
Defogger
On 3 & 6
Off No Continuity
Fig 1: Identifying Power Mirror Switch Terminals
G00029390Courtesy of AMERICAN HONDA MOTOR CO., INC.