LEMON Manuals: Even more car manuals for everyone
Home >> Acura >> 2002 >> 3.2CL Base >> Repair and Diagnosis (Single Page) >> Engine Performance >> System >> Engine Controls - System & Component Testing >> Air Induction Systems >> Intake Manifold Runner Control System >> 3.5RL

Intake Manifold Runner Control System: 3.5RL

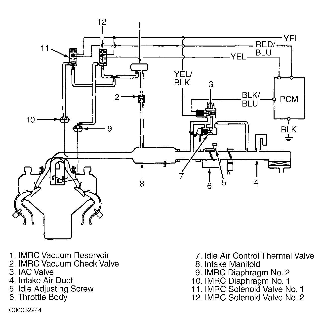
  1. Intake Manifold Runner Control (IMRC) solenoid valves are located at center rear of engine. See Figure . IMRC diaphragms No. 1 and 2 are located at rear of intake plenum. Ensure IMRC diaphragm shafts move smoothly and do not bind or stick. If necessary, clean linkage and shafts.
  2. Start engine and allow to idle. Remove vacuum hose No. 2 from IMRC diaphragm valve No. 1. See Fig 2 . Connect vacuum gauge to hose. If vacuum is not present, go to next step. If vacuum is present, go to step  7 .
  3. Disconnect vacuum hose No. 4 at IMRC solenoid No. 1. See Fig 2 . Connect vacuum gauge to disconnected hose. With engine at idle, if vacuum is present, go to next step. If vacuum is not present, check for a blockage or vacuum leak between IMRC vacuum reservoir and intake manifold. Repair as necessary and recheck.
  4. Turn ignition switch off. Disconnect IMRC/engine mount control solenoid valve assembly 6-pin harness connector. Start engine and allow to idle. Measure voltage between IMRC/engine mount control solenoid valve assembly 6-pin harness connector terminals No. 2 (Black/Yellow wire) and No. 5 (Red/Blue wire). See WIRING DIAGRAMS article. If voltage is not present, go to next step. If battery voltage is present, replace IMRC solenoid valve No. 1.
  5. Measure voltage between ground and IMRC/engine mount control solenoid valve assembly 6-pin harness connector terminal No. 2 (Black/Yellow wire). If battery voltage is present, go to next step. If battery voltage is not present, repair open in Black/Yellow wire between IMRC/engine mount control solenoid valve assembly 6-pin harness connector terminal No. 2 and No. 20 ECU (20-amp) fuse located in underdash fuse/relay box.
  6. Turn ignition switch off. Check for continuity in Red/Blue wire between ground and PCM 26-pin harness connector terminal No. 20. See Fig 3 . If continuity is not present, repair open in Red/Blue wire between PCM 26-pin harness connector terminal No. 20 and IMRC/engine mount control solenoid valve assembly 6-pin harness connector terminal No. 5. If continuity is present, go to step  18 .
  7. With engine idling, disconnect vacuum hose No. 8 from IMRC diaphragm No. 2. Connect vacuum gauge to disconnected hose. If vacuum is present, go to next step. If vacuum is not present, go to step  10 .
    Fig 1: Identifying IMRC Diaphragms & Vacuum Hoses
    G00032252Courtesy of AMERICAN HONDA MOTOR CO., INC.
  8. Increase engine speed to 3400 RPM. Disconnect No. 2 vacuum hose from IMRC diaphragm No. 1. Connect vacuum gauge to disconnected No. 2 vacuum hose. See Fig 1 . If vacuum is not present, go to next step. If vacuum is present, go to step  14 .
  9. Increase engine speed to 4000 RPM. Disconnect No. 8 vacuum hose from IMRC diaphragm No. 2. Connect vacuum gauge to disconnected No. 8 vacuum hose. See Fig 1 . If vacuum is not present, IMRC system is okay. If vacuum is present, go to step  16 .
  10. Disconnect vacuum hose No. 4 from IMRC solenoid valve No. 1. See Fig 2 . Connect vacuum gauge to disconnected No. 4 vacuum hose and check for vacuum. With engine at idle, if vacuum is present, go to next step. If vacuum is not present, check for a blockage or vacuum leak between IMRC vacuum reservoir and intake manifold. Repair as necessary and recheck.
  11. Turn ignition switch off. Disconnect IMRC/engine mount control solenoid valve assembly 6-pin connector. Start engine and allow to idle. Measure voltage between IMRC/engine mount control solenoid valve assembly 6-pin harness connector terminals No. 1 (Black/Yellow wire) and No. 4 (Yellow wire terminals). See WIRING DIAGRAMS article. If battery voltage is not present, go to next step. If battery voltage is present, replace IMRC solenoid valve No. 2.
  12. Measure voltage between ground and IMRC/engine mount control solenoid valve assembly 6-pin harness connector terminal No. 1 (Black/Yellow wire). If battery voltage is present, go to next step. If battery voltage is not present, repair open in Black/Yellow wire between IMRC/engine mount control solenoid valve assembly 6-pin harness connector terminal No. 1 and No. 20 ECU (20-amp) fuse in under dash fuse box.
  13. Turn ignition switch off. Check for continuity between ground and PCM 26-pin harness connector terminal No. 22 (Yellow wire). See Fig 3 . If continuity does not exist, repair open in Yellow wire between PCM 26-pin harness connector terminal No. 22 and IMRC/engine mount control solenoid valve assembly 6-pin harness connector terminal No. 4. If continuity exists, go to step  18 .
  14. Disconnect IMRC/engine mount control solenoid valve assembly 6-pin harness connector. With engine speed at 3400 RPM, if vacuum is not present, go to next step. If vacuum is present, replace IMRC solenoid valve No. 1.
  15. Turn ignition switch off. Disconnect PCM 26-pin harness connector. See Fig 3 . Check continuity between ground and PCM 26-pin harness connector terminal No. 20 (Red/Blue wire). See WIRING DIAGRAMS article. If continuity is present, repair short to ground in Red/Blue wire between PCM 26-pin harness connector terminal No. 20 and IMRC solenoid valve No. 1. If continuity is not present, go to step  18 .
  16. Disconnect IMRC/engine mount control solenoid valve assembly 6-pin harness connector. With engine speed at 4000 RPM, if vacuum is not present, go to next step. If vacuum is present, replace IMRC solenoid valve No. 2.
  17. Turn ignition switch off. Disconnect PCM 26-pin harness connector. See Fig 3 . Check continuity between ground and PCM 26-pin connector terminal No. 22 (Yellow wire). If continuity is present, repair short to ground in yellow wire between PCM 26-pin connector terminal No. 22 and IMRC solenoid valve assembly No. 2. If continuity is not present, go to next step.
  18. Cut temporary key from a non-immobilizer key blank and tape donor vehicle key to it backwards in order to deactivate immobilizer system during testing. Substitute known-good PCM, then recheck. If symptom or indication goes away, replace original PCM.
Fig 2: Identifying IMRC System Components (3.5RL)
G00032244Courtesy of AMERICAN HONDA MOTOR CO., INC.
Fig 3: Identifying PCM Terminals (3.5RL)
G98G11342Courtesy of AMERICAN HONDA MOTOR CO., INC.