LEMON Manuals: Even more car manuals for everyone
Home >> Acura >> 2001 >> 3.2CL Base >> Repair and Diagnosis >> Steering >> Steering Column >> Power Steering System >> Pump Overhaul >> Special Tools Required >> Disassembly

Special Tools Required: Disassembly

NOTE: Refer to the Exploded View  as needed during the following procedure.
  1. Remove the power steering pump (see PUMP REPLACEMENT ).
  2. Drain the fluid from the pump.
  3. Hold the steering pump (A) in a vise with soft jaws, hold the pulley (B) with the special tool, and remove the pulley nut (C) and pulley. Be careful not to damage the pump housing with the jaws of the vise.
    Fig 1: Removing The Pulley Nut And Pulley
    G01165678Courtesy of AMERICAN HONDA MOTOR CO., INC.
  4. Loosen the flow control valve cap with a hex wrench, and remove it and the O-ring, flow control valve and spring.
  5. Remove the pump cover and pump cover seal.
  6. Remove the outer side plate, pump cam ring, pump rotor, pump vanes, side plate and O-rings.
  7. Remove the snap ring, then remove the pump drive shaft by tapping the shaft end with the plastic hammer.
  8. Remove the pump seal spacer and pump seal.

    Inspection 

  9. Check the flow control valve for wear, burrs, and other damage to the edges of the grooves in the valve.
    Fig 2: Checking The Flow Control Valve
    G01165679Courtesy of AMERICAN HONDA MOTOR CO., INC.
  10. Inspect the bore of the flow control valve on the pump housing for scratches and wear.
  11. Slip the flow control valve back in the pump housing, and check that it moves in and out smoothly. If OK, go to step 12; if not, replace the pump as an assembly. The flow control valve is not available separately.
    Fig 3: Sliding The Flow Control Valve In The Pump Housing
    G01165680Courtesy of AMERICAN HONDA MOTOR CO., INC.
  12. Attach a hose (A) to the end of the flow control valve (B) as shown. Then submerge the flow control valve in a container of power steering fluid or solvent (C), and blow in the hose.
    • If air bubbles leak through the valve at less than 98 kPa (1.0 kgf/cm2 , 14.2 psi), replace the pump as an assembly. The flow control valve is not available separately.
    • If the flow control valve tests OK, set it aside for reassembly later.
    Fig 4: Checking The Flow Control Valve
    G01165681Courtesy of AMERICAN HONDA MOTOR CO., INC.
  13. Inspect the ball bearing by rotating the outer race slowly. If you feel any play (axial or radial) or roughness, remove the faulty ball bearing (A), and install a new one (B).
    Fig 5: Removing & Installing Ball Bearing
    G01165682Courtesy of AMERICAN HONDA MOTOR CO., INC.
  14. Inspect each part shown with an asterisk in the Exploded View ; if any of them are worn or damaged, replace the pump as an assembly.

    Reassembly 

  15. Clean the disassembled parts with solvent, and dry them with compressed air. Do not dip rubber parts in solvent.
  16. Install the new pump seal (A) (with its grooved side facing in) into the pump housing by hand, then install the pump seal spacer (B).
    Fig 6: Installing The New Pump Seal
    G01165683Courtesy of AMERICAN HONDA MOTOR CO., INC.
  17. Position the pump drive shaft (C) in the pump housing (D), then drive it in using a socket (E).
  18. Install the 40 mm snap ring (F) with its radiused side facing out.
  19. Coat the new pump cover seal (A) with power steering fluid, and install it into the groove in the pump cover (B).
    Fig 7: Installing Seal In Pump Cover
    G01165684Courtesy of AMERICAN HONDA MOTOR CO., INC.
  20. Install the outer side plate (C) over the two roll pins (D).
  21. Set the pump cam ring (A) over the two pins with its "." mark (B) facing downward.
    Fig 8: Setting The Pump Cam Ring Over The Two Pins
    G01165685Courtesy of AMERICAN HONDA MOTOR CO., INC.
  22. Install the pump rotor (A) into the pump cover (B) with its "." mark (C) facing downward.
    Fig 9: Installing The Pump Rotor & Vanes
    G01165686Courtesy of AMERICAN HONDA MOTOR CO., INC.
  23. Set the 10 vanes (D) in the grooves in the rotor.

    Make sure that the round ends (E) of the vanes are in contact with the sliding surface of the cam ring.

  24. Coat the new O-ring (A) with power steering fluid, and install it into the groove in the side plate (B).
    Fig 10: Installing The Side Plate
    G01165687Courtesy of AMERICAN HONDA MOTOR CO., INC.
  25. Install the side plate on the cam ring (C) by aligning the holes (D) in the side plate with the pins (E).
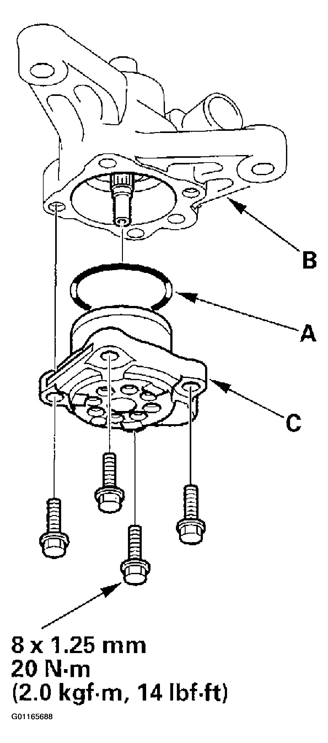
  26. Coat the new O-ring (A) with power steering fluid, and position it in the pump housing (B).
    Fig 11: Sliding The Pump Housing Over The Pump Cover Assembly
    G01165688Courtesy of AMERICAN HONDA MOTOR CO., INC.
  27. Slide the pump housing over the pump cover assembly (C), and install the bolts.
  28. Coat the flow control valve (A) with power steering fluid, then install it and the spring (B) in the pump housing.
    Fig 12: Installing The Flow Control Valve
    G01165689Courtesy of AMERICAN HONDA MOTOR CO., INC.
  29. Coat the new O-ring (C) with power steering fluid, and install it on the flow control valve cap (D), then install the cap on the pump housing, and tighten it.
  30. Coat the new O-ring (A) with power steering fluid, and install it on the inlet joint (B). Install the inlet joint on the pump housing, and tighten the flange bolt.
    Fig 13: Installing The Inlet Joint On The Pump Housing
    G01165690Courtesy of AMERICAN HONDA MOTOR CO., INC.
  31. Install the pulley (A), then loosely install the pulley nut (B). Hold the steering pump in a vise with soft jaws. Be careful not to damage the pump housing with the jaws of the vise.
    Fig 14: Installing The Pulley
    G01165691Courtesy of AMERICAN HONDA MOTOR CO., INC.
  32. Hold the pulley with the special tool, and tighten the pulley nut.
  33. Check that the pump turns smoothly by turning the pulley by hand.