LEMON Manuals: Even more car manuals for everyone
Home >> Acura >> 2000 >> Integra GS-R, 4D Sedan >> Repair and Diagnosis >> Body & Frame >> Power Windows >> Component Tests >> Power Window Master Switch

Power Window Master Switch

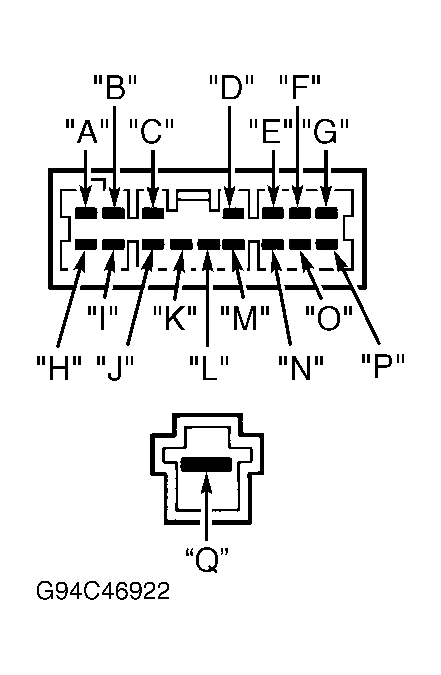
Remove power window master switch. See WINDOW SWITCH  under REMOVAL & INSTALLATION. Disconnect 1-pin and 16-pin connectors. Check for continuity between switch terminals with switch in specified position. See POWER WINDOW MASTER SWITCH  table. See Fig 1 or Fig 2 . If continuity is not as specified, replace switch.

NOTE: Driver's power window switch is integrated with control unit and cannot be isolated for testing. On hatchback (2-door) models, perform tests No. 1, 2, 3, and 5. On sedan (4-door) models, perform tests No. 1, 2, 3 and 7. See POWER WINDOW MASTER SWITCH INPUT  under SYSTEM TESTS. See Figure or Figure . If inputs are normal and driver's power window switch does not operate properly, replace power window master switch assembly.
POWER WINDOW MASTER SWITCH(1)

Window Switch Position Master Switch Position Continuity Between Terminals
Right Front Switch
Hatchback (2-Door)
Off On D, H & I
Off H & I
Up On D & H; I & J
Off I & J
Down On D & I; H & J
Off H & J
Sedan (4-Door)
Off On I, J & Q
Off I & J
Up On H & J; I & Q
Off H & J
Down On H & I; J & Q
Off H & I
Left Rear Switch
Off On F, G & Q
Off F & G
Up On E & G; F & Q
Off E & G
Down On E & F; G & Q
Off E & F
Right Rear Switch
Off On O, P & Q
Off O & P
Up On N & P; O & Q
Off N & P
Down On N & O; P & Q
Off N & O
(1) See Fig 1 or Fig 2 .
Fig 1: Identifying Master Switch Terminals (Hatchback)
G94B46921Courtesy of AMERICAN HONDA MOTOR CO., INC.
Fig 2: Identifying Master Switch Terminals (Sedan)
G94C46922Courtesy of AMERICAN HONDA MOTOR CO., INC.