LEMON Manuals: Even more car manuals for everyone
Home >> Acura >> 1996 >> NSX Standard >> Repair and Diagnosis >> Engine Performance >> System >> Engine Controls - System & Component Testing >> Idle Control Systems >> Starter Switch Signal

Starter Switch Signal

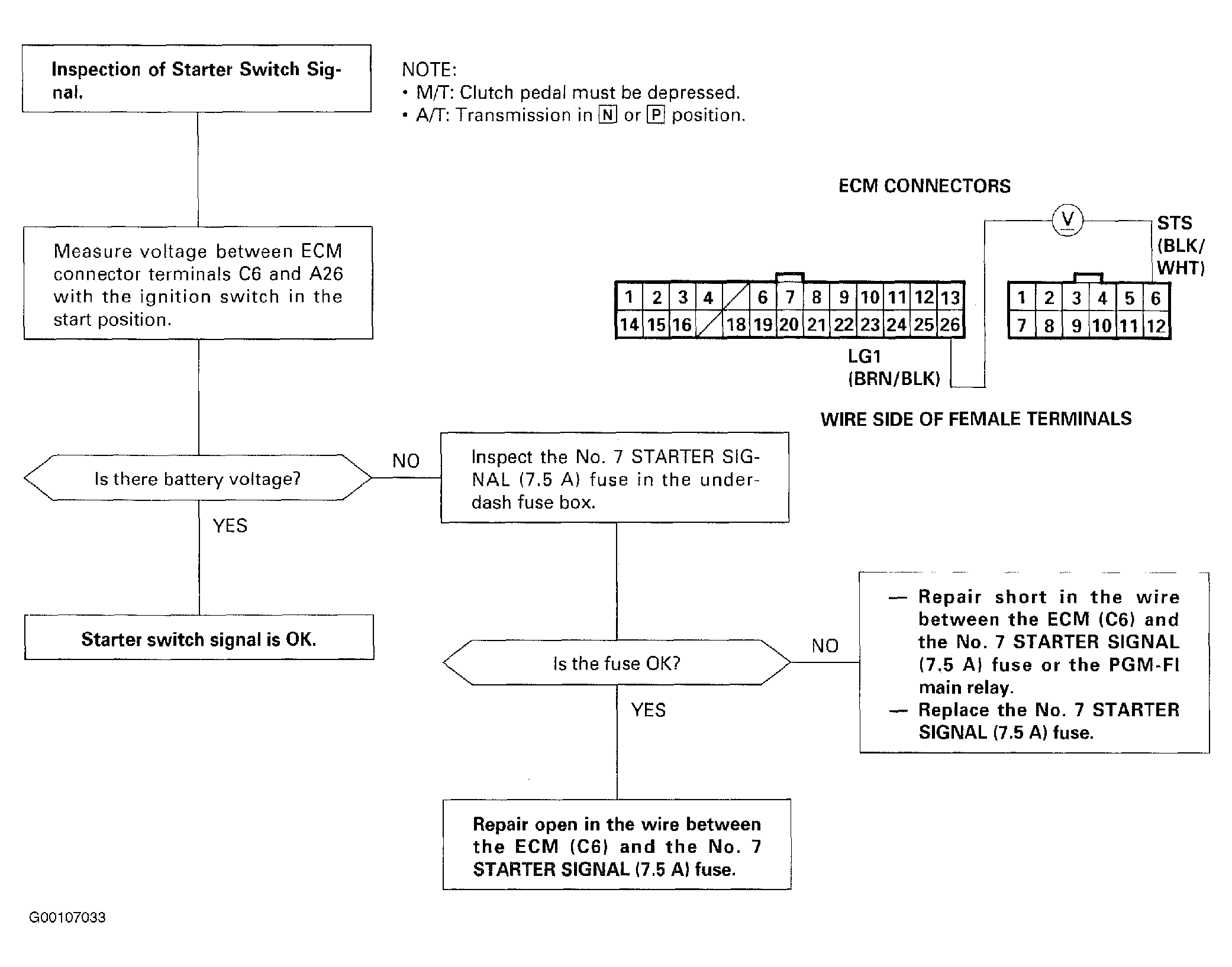
This signals the ECM when the engine is cranking. For troubleshooting of the starter switch signal circuit, see Fig 1 .

Fig 1: Starter Switch Signal Diagnostic Flow Chart
G00107033Courtesy of AMERICAN HONDA MOTOR CO., INC.