LEMON Manuals: Even more car manuals for everyone
Home >> Acura >> 1996 >> NSX Automatic >> Repair and Diagnosis >> Engine Performance >> System >> Engine Controls - System & Component Testing >> Modules, Motors, Relays & Solenoids >> Throttle Valve Control Motor Relay

Throttle Valve Control Motor Relay

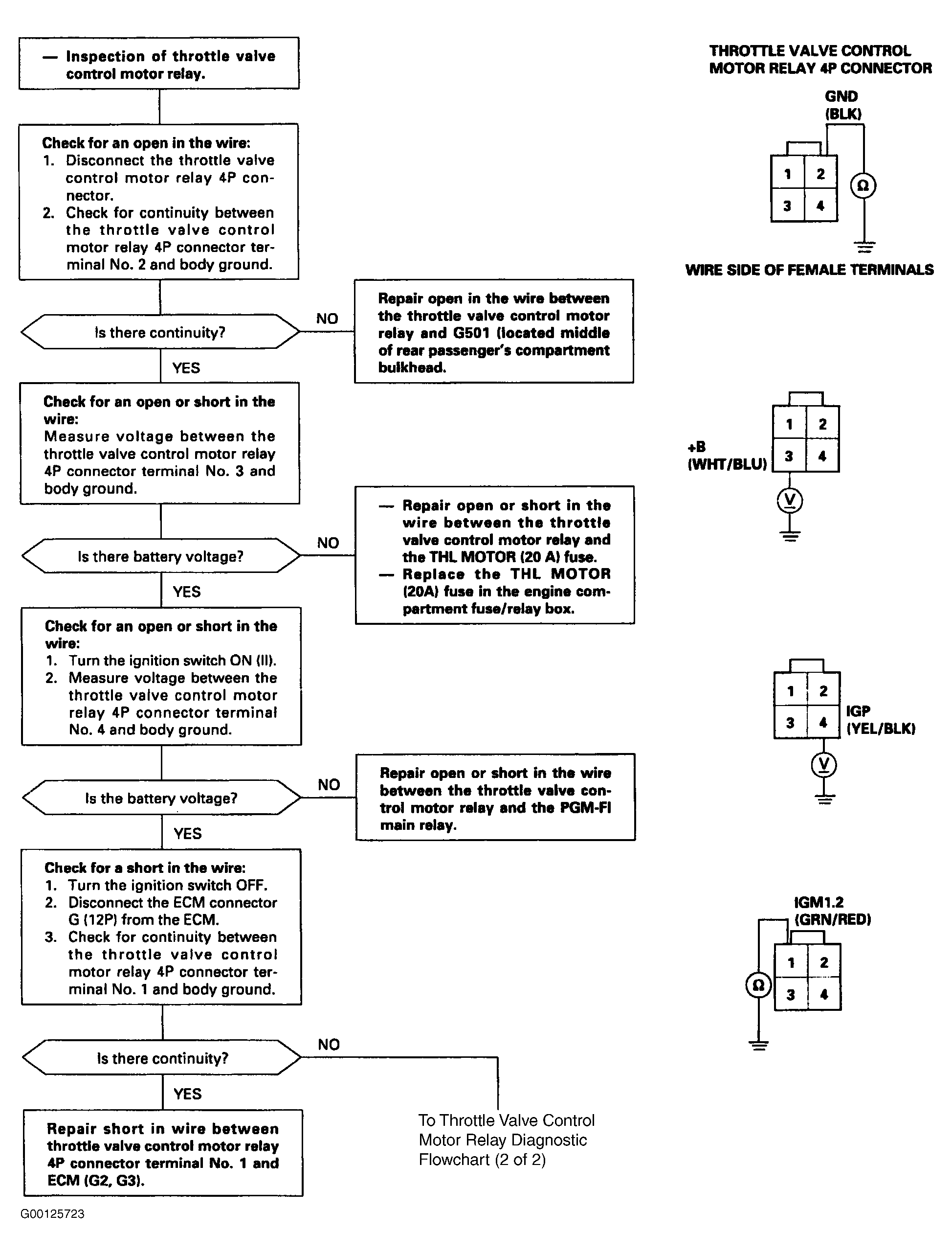
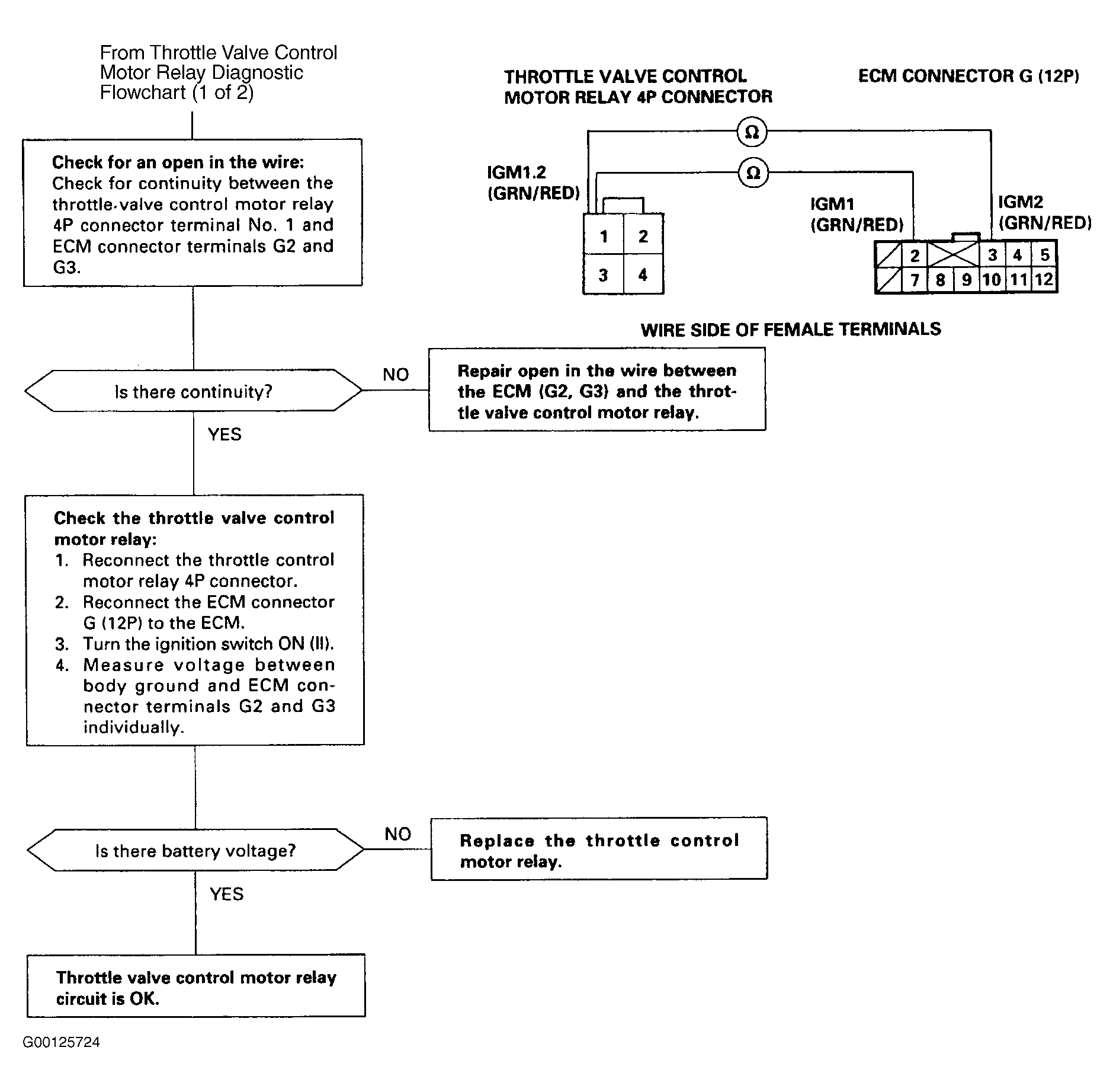
To troubleshoot the throttle valve control motor relay, see Fig 1 and Fig 2 .

Fig 1: Throttle Valve Control Motor Relay Diagnostic Flowchart (1 Of 2)
G00125723Courtesy of AMERICAN HONDA MOTOR CO., INC.
Fig 2: Throttle Valve Control Motor Relay Diagnostic Flowchart (2 Of 2)
G00125724Courtesy of AMERICAN HONDA MOTOR CO., INC.