LEMON Manuals: Even more car manuals for everyone
Home >> Acura >> 1995 >> 2.5TL >> Repair and Diagnosis >> Engine Performance >> System >> Engine Controls - Basic Testing >> Fuel System >> Fuel Pressure >> Fuel Pump Relay

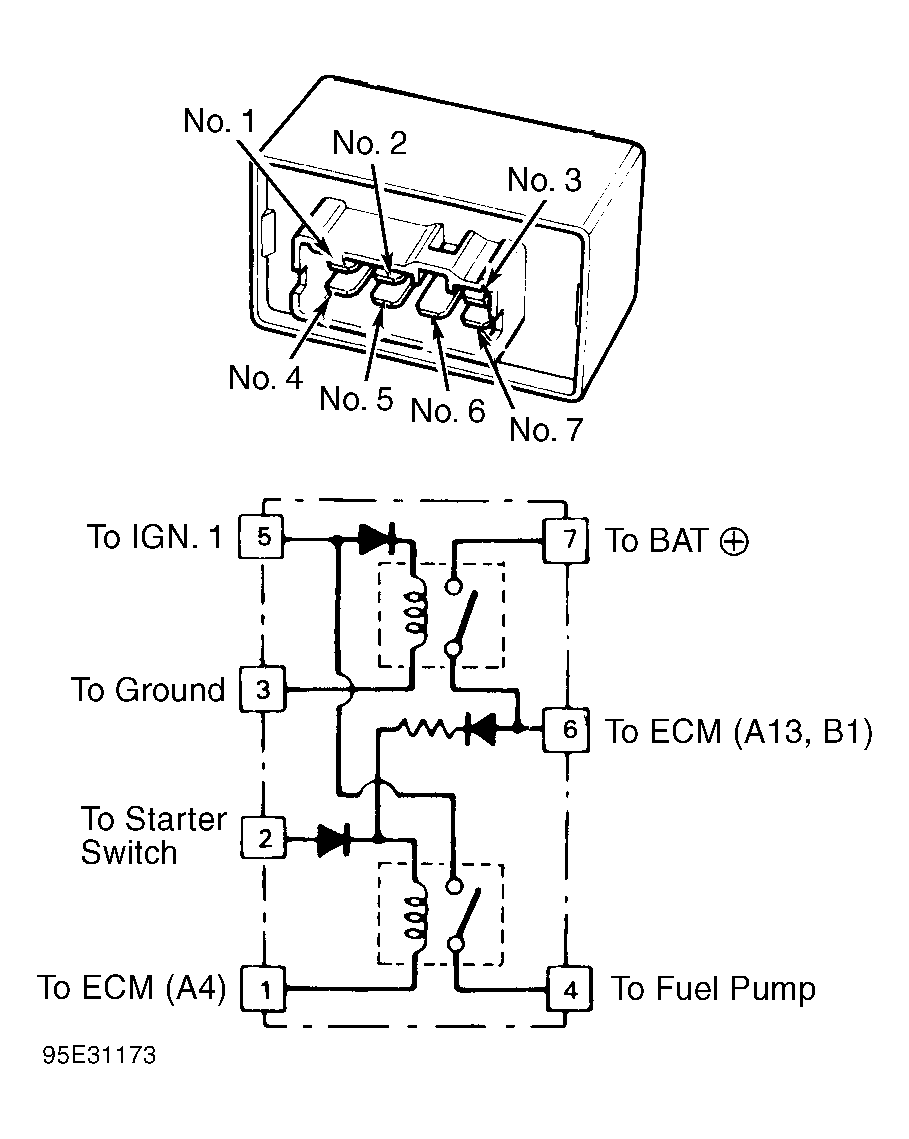
Fuel Pump Relay

  1. Remove fuel pump main relay, located under left side of dash. Connect battery voltage to relay terminal No. 2. Connect terminal No. 1 to ground. See Fig 1.
  2. Test for continuity between relay terminals No. 4 and 5. If continuity exists, go to next step. If continuity does not exist, replace relay.
  3. Connect battery voltage to relay terminal No. 5. Connect terminal No. 3 to ground. Test for continuity between terminals No. 6 and 7. If continuity exists, go to next step. If continuity does not exist, replace relay.
  4. Connect battery voltage to relay terminal No. 6. Connect terminal No. 1 to ground. Test for continuity between relay terminals No. 4 and 5. If continuity exists, relay is okay. If continuity does not exist, replace relay.
    Fig 1: Identifying Fuel Pump Relay Terminals
    G95E31173Courtesy of AMERICAN HONDA MOTOR CO., INC.