LEMON Manuals: Even more car manuals for everyone
Home >> Acura >> 1993 >> NSX Standard >> Repair and Diagnosis >> Engine Performance >> System >> Engine Controls - System & Component Testing >> Idle Control Systems >> Starter Switch Signal

Starter Switch Signal

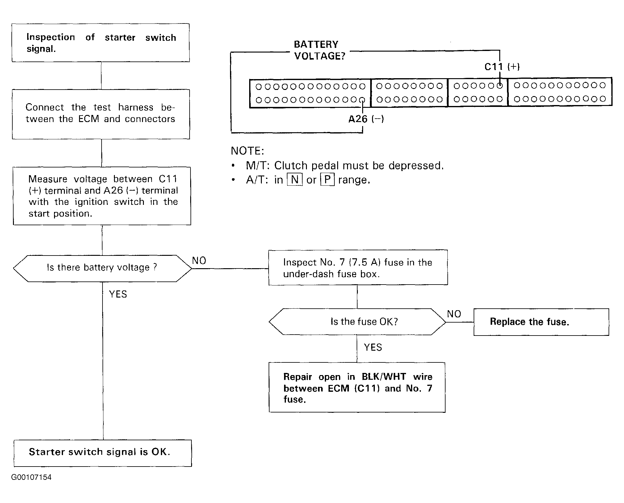
This signals the ECM when the engine is cranking. See Fig 1 .

Fig 1: Starter Switch Signal Diagnostic Flowchart
G00107154Courtesy of AMERICAN HONDA MOTOR CO., INC.