LEMON Manuals: Even more car manuals for everyone
Home >> Acura >> 1993 >> NSX Standard >> Repair and Diagnosis >> Engine Performance >> System >> Engine Controls - System & Component Testing >> Idle Control Systems >> Alternator Fr Signal

Alternator Fr Signal

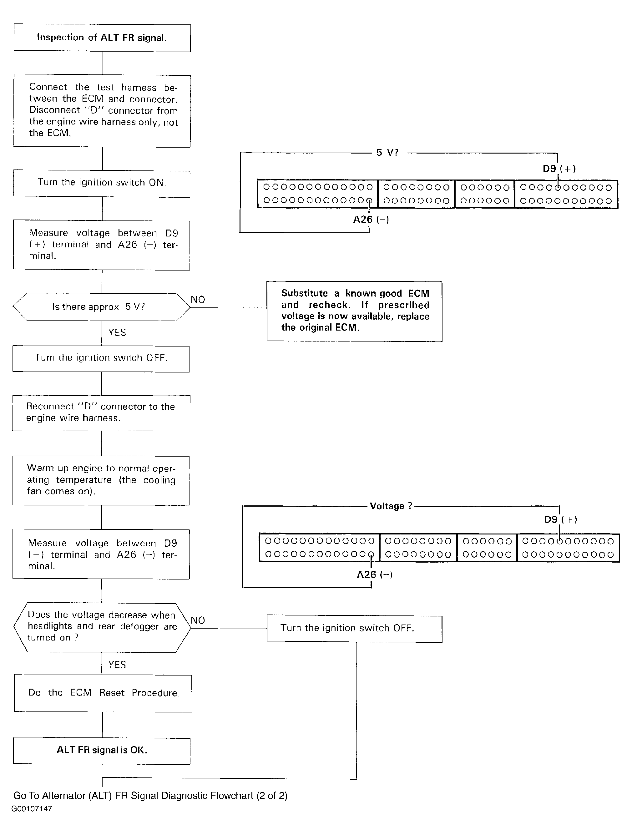
This signals the ECM when the alternator is charging. See Fig 1 and Fig 2 .

Fig 1: Alternator (ALT) FR Signal Diagnostic Flowchart (1 Of 2)
G00107147Courtesy of AMERICAN HONDA MOTOR CO., INC.
Fig 2: Alternator (ALT) FR Signal Diagnostic Flowchart (2 Of 2)
G00107148Courtesy of AMERICAN HONDA MOTOR CO., INC.