LEMON Manuals: Even more car manuals for everyone
Home >> Acura >> 1992 >> NSX Standard >> Repair and Diagnosis >> Engine Performance >> System >> Engine Controls - System & Component Testing >> Idle Control Systems >> Starter Switch Signal

Starter Switch Signal

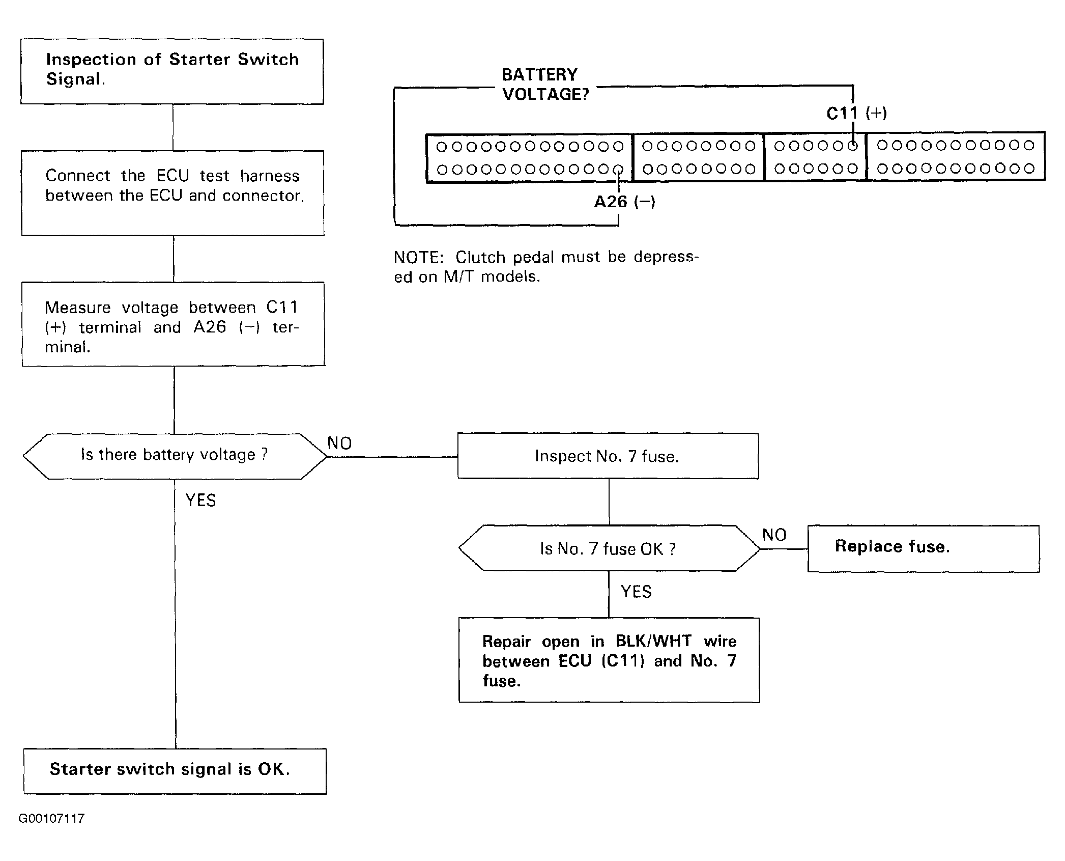
This signals the PGM-FI ECU when the engine is cranking. See Fig 1 .

Fig 1: Starter Switch Signal Diagnostic Flow Chart
G00107117Courtesy of AMERICAN HONDA MOTOR CO., INC.