LEMON Manuals: Even more car manuals for everyone
Home >> Acura >> 1992 >> NSX Standard >> Repair and Diagnosis >> Engine Performance >> System >> Engine Controls - System & Component Testing >> Idle Control Systems >> A/T Shift Position Signal

A/T Shift Position Signal

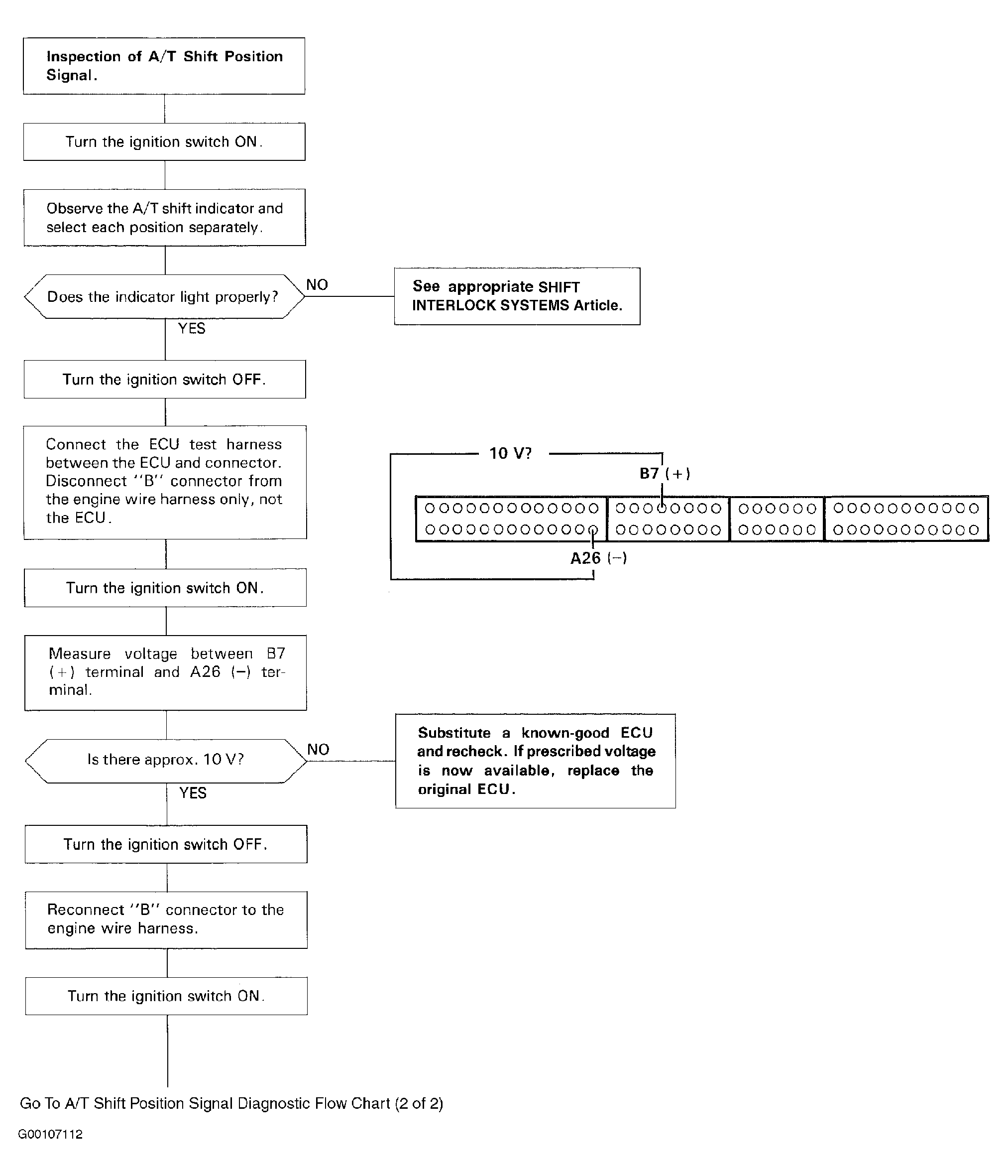
This signals the PGM-FI ECU when the transmission is in Neutral or Park. See Fig 1 and Fig 2 .

Fig 1: A/T Shift Position Signal Diagnostic Flow Chart (1 Of 2)
G00107112Courtesy of AMERICAN HONDA MOTOR CO., INC.
Fig 2: A/T Shift Position Signal Diagnostic Flow Chart (2 Of 2)
G00107113Courtesy of AMERICAN HONDA MOTOR CO., INC.